Гидравлический разделитель (гидрострелка) HSF 80/200 210кВт
Гидравлическая стрелка HSF для систем отопления до 210 кВт не утепленная. Размер фланцев 80
Гидравлические стрелки тип HSF, HS

Гидравлические стрелки предназначены для разделения котельного и отопительного контуров. Применяются в системах средней и большой мощности, состоящие из одного или более котлов и нескольких отопительных контуров. Обеспечивают независимость работы вышеперечисленных контуров без необходимости уравновешиванием обращения теплоносителя. Применить гидравлические стрелки целесообразно в системах с большими объемами теплоносителя и большой мощностью отопительных комплексов (например, при модернизации системы центрального отопления).
Особенности:
• разделение котельного и отопительного контуров
• содержание независимых потоков в циркуляционном кругу котла и отопительных контуров
• уравновешивает потоки теплоносителя котельного и отопительных контуров
• отмучивания теплоносителя;
• удаление воздуха из теплоносителя.
Строение:
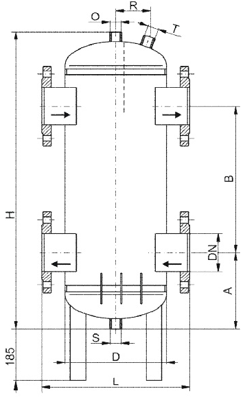
Гидравлическая стрелка устроена как стальной цилиндрический резервуар из низкоуглеродистой стали, окрашен снаружи. На корпусе (1) установлены четыре патрубка. Патрубки впускной (2) и выпускной (3) служат для подключения котельного  контура, а выпускной (4) и впускной (5) обслуживают греющий контур. В резервуаре (HSF), установлена ??перфорированная перегородка, а в (HS) гильза для измерения температуры (6). Перфорированная перегородка исключает прямую циркуляцию
контура, а выпускной (4) и впускной (5) обслуживают греющий контур. В резервуаре (HSF), установлена ??перфорированная перегородка, а в (HS) гильза для измерения температуры (6). Перфорированная перегородка исключает прямую циркуляцию 
Принцип работы:
При применении гидравлической стрелки в котельных системах происходит разделение котельного и отопительного контуров. Во время работы системы различают три основных ее состояния работы:
• состояние, когда количество теплоносителя по первичной стороне (котельное круг) соответствует количеству теплоносителя используется отопительной системой (рис.1). Количество изготовленного тепла Qk равно количеству потребленного тепла Qo.
• когда происходит уменьшение потребления тепла Qo в отопительной системе (прикрытия регулирующих клапанов и т.д.), что сопровождается протеканием части потока теплоносителя вдоль гидравлической стрелки (рис.2). Остаток тепла Qk возвращается к котлового контура, информирует котловую автоматику о необходимости уменьшения мощности котлов или их исключения.
• если потребность в тепле Qo превышает производимое котлами тепло Qk, то насосы отопительной системы создают подсос обратного потока (рис. 3). Это приводит к понижению температуры "подачи" отопительного контура. Для котельной автоматики это является сигналом о том, что нужно увеличить мощность работающего котла или включить следующий котел.
Целесообразно также подчеркнуть, что запуск котлов (котлового контура) должен происходить при полностью выключенной циркуляции в отопительной системе для предотвращения низкотемпературной коррозии.


1. Корпус
2. Вход для подачи от котельного контура.
3. Патрубок для возврата теплоносителя в котельный контур
4. Подача в отопительный контур.
5. Патрубок для возврата теплоносителя в отопительный
6. Перфорированная перегородка (для HSF), гильза измерения температура (для HS).
7. Патрубок воздушного клапана.
8. Патрубок (HSF).
9. Перегородки сборника шлама.
10. Патрубок подключения контур. спускового / отстойного клапана.


 
  
  
  
 